Вэньчжоу Joepai Valve Co., Ltd.
Вэньчжоу Joepai Valve Co., Ltd.
Новости

Новости

Корейский рынок эксклюзивный нержавеющая сталь 2PC Union Ball Calves с JIS/KS 10K ~ 20K

Joepai Valve запускает свой высокопроизводительный2 часа Union Ball ValveСерия, разработанная для соответствия строгим стандартам JIS 10K/20K & KS для корейских промышленных рынков. Обладая инвестиционными органами и гарантиями с нулевой лишней, эти клапаны обеспечивают бескомпромиссную надежность для нефтехимических, судостроения и применения в пищевой промышленности.


Инженерное превосходство: основные функции

1. Надежная конструкция: точный литой корпус (CF8/CF8M) с высокой точностью и структурной целостностью. Подходит для воды, нефти и газа (W.O.G.), рабочее давление: 800 фунтов на квадратный дюйм (10K) / 1000 фунтов на квадратный дюйм (20K). Клапан гидростатически протестирован при 1500 фунтов на квадратный дюйм в соответствии с JIS B 2003.

2. Выдающаяся герметизация и безопасность: этот аспект также проверен и гарантирован, со 100% испытанием на утечку, подводной проверкой воздуха 100 фунтов на квадратный дюйм и стандартом ISO 5208 класса A. Чистые уплотнения PTFE® и сиденья клапана могут достигать нулевых выбросов беглых в соответствии со стандартами FDA/EC1935. Для стебля клапана производится расширенная конструкция для предотвращения выброса, изготовленная из SS304/SS316, который может выдержать высокое давление.

3. Сильная адаптивность: регулируемая упаковка STEM, упаковочная коробка PTFE может быть затянута на месте без разборки. Диапазон температуры составляет от -60 ° F до 450 ° F (то есть от -51 ° C до 232 ° C), подходит для низкой температуры для применений пара. Доступны варианты сплошного шарикового клапана, которые можно настроить в соответствии с абразивным/суспензированным носителем (SS316/SS304).

4. Оперативные преимущества: работа рычага, быстрое закрытие на 90 °, с индикатором положения. Дополнительное блокирующее устройство для подтверждения безопасности статуса клапана, подходящего для критических процессов безопасности. И клапан совместно спроектирован, без разборки трубопровода для технического обслуживания.


Конкурентное преимущество для корейских покупателей

✅ Эффективность затрат

30% ниже цены, чем японские/корейские бренды с идентичным качеством материала (SCS13 = SS304, SCS14 = SS316).

✅ Быстрая логистика

Время доставки: 15 ~ 30 дней после получения вашего депозита.


Ключевые технические характеристики

Особенность Спецификация Корейское рыночное преимущество
Материал тела SCS13 (JIS G4303) / SCS14 (AISI 316) Химическое соблюдение завода
Рейтинг давления KS 10K (PN20) • KS 20K (PN50) Подходит для инфраструктуры Hyundai/KCC
Конечное соединение JIS B0203 ТЕРЫ (BSPT) Прямая замена местных систем
Материал места Усиленный PTFE (JIS T6812) Диапазон -40 ° C ~ 200 ° C в течение четырех сезонов
Операция Заблокируемый рычаг (KS C IEC 60947) Соответствие безопасности


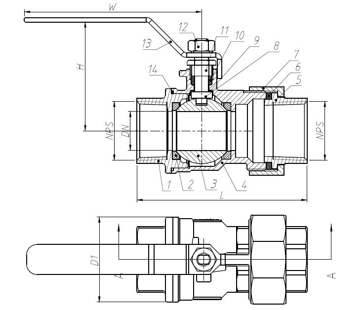
Specifications


Размеры (JIS B 2002)

НПС DN (мм) L (мм) Хм) W (мм) D1 (мм)
1 " 22 96 60 100 48
11/4 " 24 104 62 100 51
11/2 " 32 115 80 160 62
2 " 40 130 85 160 75


Наш клапан профсоюза 2PC решает Корею о герметизации высокого давления-от терминалов СПГ до химических систем дозирования. Гидростатический тест 1500 фунтов на квадратный дюйм превышает требования KS B 1510, обеспечивая целостность на протяжении всей жизни.


Действуйте сейчас!

• Скачать модели рисования: www.joepaivalve.com

• Запросить бесплатный образец: +86-19957707725 | sales@joepaivalve.com


Похожие новости
Оставьте мне сообщение
X
Мы используем файлы cookie, чтобы предложить вам лучший опыт просмотра, анализировать трафик сайта и персонализировать контент. Используя этот сайт, вы соглашаетесь на использование нами файлов cookie. политика конфиденциальности
Отклонять Принимать