Вэньчжоу Joepai Valve Co., Ltd.
Вэньчжоу Joepai Valve Co., Ltd.
Пожарный гидрант и бустерный клапан
Пожарные посадочные клапаны с нержавеющей стали
  • Пожарные посадочные клапаны с нержавеющей сталиПожарные посадочные клапаны с нержавеющей стали

Пожарные посадочные клапаны с нержавеющей стали

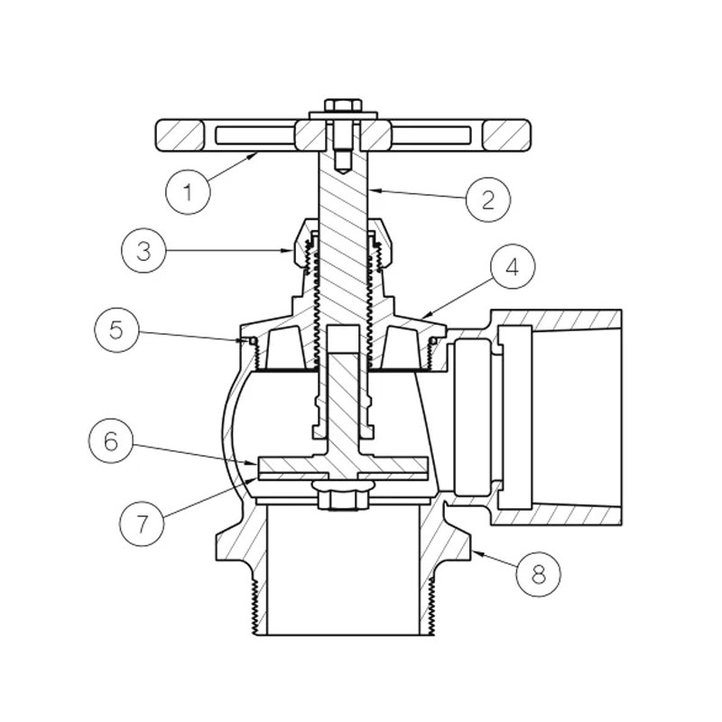
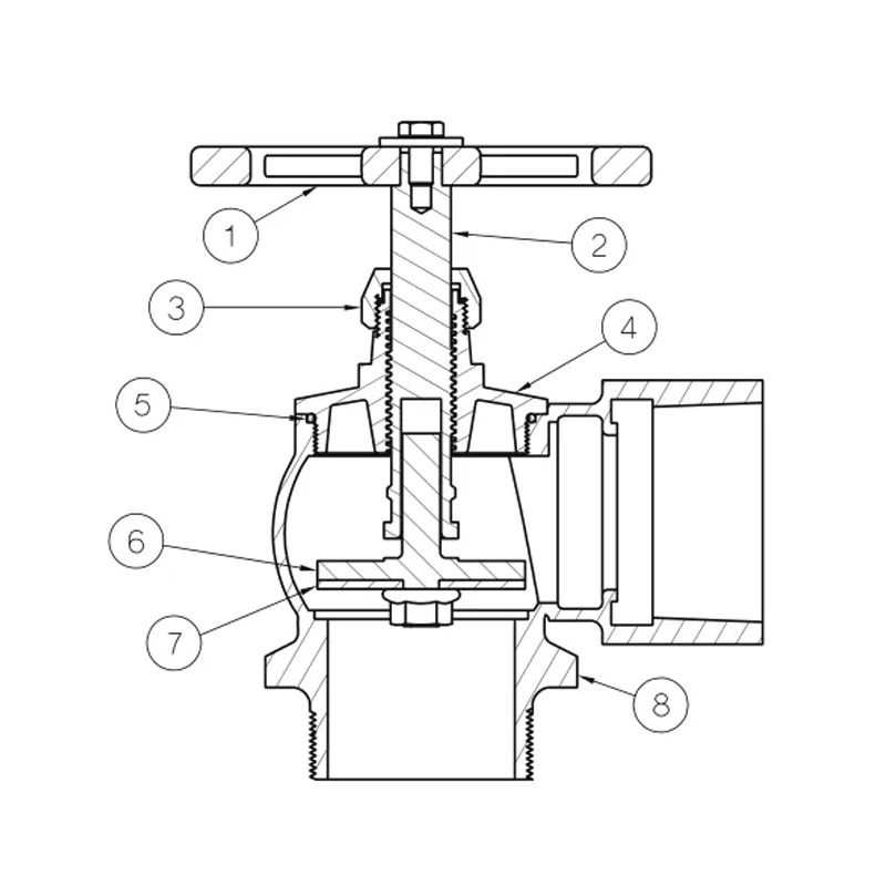
Joepai Высококачественные посадочные клапаны с гидрантами из нержавеющей стали, предназначенные для долговечности, эффективности и оптимального потока воды в пожарных системах. Эти клапаны оснащены надежной конструкцией из нержавеющей стали (SS304/SS316), обеспечивающей коррозионную стойкость и долгосрочную производительность даже в суровых условиях.

Фабрика Joepai обеспечивает высококлассовую посадочную посадочную полосу из нержавеющей стали из нержавеющей стали с оптимизированной конструкцией потока с минимальной потерей давления и мгновенными возможностями работы. Эти тяжелые клапаны спроектированы для систем подавления пожаров на водной основе в требовательных средах. 65-мм входной входной входной канавки BSP с 65-мм с кованым штока Стандарты соответствия, обеспечивая безопасные результаты, когда реагирование на чрезвычайные ситуации требует абсолютной надежности.

Тип модели:

65 -миллиметровый BSP Rideed Storz x 80 мм рулон входной вход

65 -миллиметровый ногольный ряд Storz x 65 мм BSP мужской вход

65 -миллиметровый QRT Outlet x 80 мм рулон вход

65 -миллиметровый QRT Outlet x 65 мм BSP мужской вход

65 -мм BIC X 80 мм рулонный вход в канавку

Материалы премиум -класса:


Корпус, капот и диск: 304 нержавеющая сталь

Стебель: 316 нержавеющая сталь (превосходная коррозионная стойкость)

Ручное колесо: прочный чугун HT200

Уплотнения: резина NBR для надежной производительности


Спецификации производительности:

Рабочее давление: 1400 кПа

Тестовое давление: 2700 кПа

Диапазон температуры: от -10 ° C до +85 ° C

Соответствие и стандарты: полностью соответствует AS/NZS 2419.2 для систем пожарного гидранта

Принцип работы:


При активации вода протекает через проход из нержавеющей стали с полной коробкой, в то время как сильная система герметизации обеспечивает нулевую утечку. Строительство морского уровня поддерживает производительность в средах соленой воды, при этом все внутренние компоненты сопротивляются накоплению минералов и коррозии.


Threaded Stainless Steel Y Strainer

Горячие Теги: Пожарные посадочные клапаны с нержавеющей стали
Отправить запрос
Контакты
  • Адрес

    Здание 2, № 4228, 3-я дорога Биньхай, улица Синхай, район Лунвань, город Вэньчжоу, провинция Чжэцзян, Китай

  • Электронная почта

    sales@joepaivalve.com

Для запросов о шаровых клапанах, клапанах ворот, клапанах глобуса или прайс -листе, оставьте нам свое электронное письмо, и мы свяжемся в течение 24 часов.
X
Мы используем файлы cookie, чтобы предложить вам лучший опыт просмотра, анализировать трафик сайта и персонализировать контент. Используя этот сайт, вы соглашаетесь на использование нами файлов cookie. политика конфиденциальности
Отклонять Принимать